moles_minsk@mail.ru molesminsk@gmail.com по вопросам заказов
г.п. Мачулищи, ул. Аэродромная 15а, каб. 22 адрес головного офиса
Закажите услуги нашей компании и будьте уверены в высоком уровне выполнения работ и индивидуальном подходе к каждому проекту!
Низкие цены и широкий ассортимент
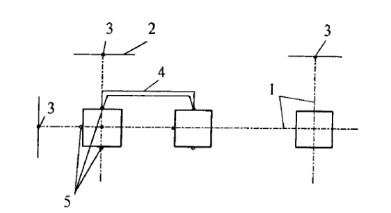
Фундаменты стаканного типа. После подготовки основания размечают оси фундаментов, которые выносят на обноску с последующей разметкой осей на месте установки фундаментов. Для этого на обноске натягивают осевые струны и с помощью отвесов переносят точки их пересечения на дно котлованов и траншей (рис. 7.1).

Рис. 7.1. Разметка положения фундаментов стаканного типа:
1 — главные оси здания; 2 — обноска; 3 — гвозди, показывающие положение осей; 4 — шаблон; 5 — колышки, штыри
Во всех каркасных зданиях фундаменты стаканного типа имеют отрицательную отметку верхнего обреза — 0,15 м, что позволяет в удобное время устраивать бетонную подготовку под полы, а значит в полном объеме завершать работы нулевого цикла.
Проверяют уровень дна стаканов фундаментов, расположенных в зоне установки. При необходимости делают углубление в земляном или песчаном основании. В этом месте подсыпку делают тоньше, утоняется бетонное покрытие. От точек пересечения осей фундаментов рулеткой или шаблоном размечают положение боковых граней каждого стакана. Это положение закрепляют тремя колышками или металлическими штырями, забитыми в грунт.
Фундаменты ленточного типа — блоки-подушки. Сборные ленточные фундаменты состоят из блоков двух типов, блоков-подушек, укладываемых в основание фундаментов и стеновых блоков, которые являются стенами подземной части зданий.
При монтаже ленточных подушек предварительно от точки пересечения осей метром отмеряют проектное положение наружной грани фундаментной ленты и забивают два металлических штыря так, чтобы натянутая между ними проволочная причалка была расположена в 2...3 мм за линией ленты фундаментов (рис. 7.2).

Рис. 7.2. Разметка положения фундаментных подушек: 1 — обноска; 2 — торцевые фундаментные подушки; 3 — причалка
Если в проекте нет других указаний, то при песчаных грунтах фундаментные блоки укладывают непосредственно на выровненное основание, при других грунтах — на песчаную подушку толщиной 10 см. Под подошвой фундамента нельзя оставлять насыпной или разрыхленный грунт. Его удаляют и вместо него насыпают щебень или песок. Углубления в основании более 10 см обычно заполняют бетонной смесью.
Отметку основания проверяют нивелированием. Ленточные фундаменты начинают монтировать с маячных блоков по углам и в местах пересечения стен. После этого шнур-причалку поднимают до уровня верхнего наружного ребра блоков и по нему располагают все промежуточные блоки.
Боковые пазухи и разрывы между блоками-подушками до 10...15 см в процессе монтажа заполняют песком и уплотняют. Излишки грунта срезают заподлицо с поверхностью блоков. В местах сопряжения продольных и поперечных стен блоки-подушки укладывают впритык, места сопряжения между ними заделывают бетонной смесью. После установки маячных подушек причалку поднимают до уровня верхнего ребра подушек.
При обычных грунтах по фундаментным подушкам устраивают горизонтальную гидроизоляцию, по ней сверху цементную стяжку толщиной 30 мм. При слабых грунтах и возможности неравномерной осадки фундаментов по верху фундаментных подушек в цементно-песчаную стяжку укладывают арматурную сетку, что приводит к более равномерному распределению нагрузки от вышележащих блоков и конструкций. Диаметр стержней сетки принимают по проекту, но не менее 5 мм. По завершении устройства цементной стяжки целесообразно засыпать котлован до верха смонтированных фундаментных подушек.
В качестве подосновы фундамента служит бетонная подготовка, выполненная по утрамбованному щебню или, в некоторых случаях, плита основания. Вертикальная опалубка выставляется по направлениям, заданным геодезической разбивкой.
Монтаж блоков стен подвала. Раскладку фундаментных подушек и блоков стен подвала осуществляют в соответствии с технологической картой, по приведенной в ней схеме раскладки блоков, учитывающей необходимость оставления отверстий и проходов между ними для ввода через фундаменты в здание трубопроводов и кабелей.
До начала монтажа стеновых фундаментных блоков на ленте фундаментных подушек размечают продольные и поперечные оси, используя для этих целей проволочные оси с обноски. Монтаж фундаментных блоков начинают с установки угловых — двух крайних по фасаду здания. После угловых устанавливают промежуточные маячные блоки на расстоянии 20...30 м один от другого, по которым и натягивают маячные причалки на расстоянии 2...3 мм от линии наружного края фундаментов. Причалка должна располагаться на 4...5 см выше уровня установленного ряда блоков. По мере монтажа причалку переносят вверх на очередной ряд блоков, уровень ее также на 4...5 см выше уровня установки этого ряда блоков.
Блоки двух первых рядов устанавливают с уровня земли, последующие — с подмостей. Перевязка блоков — не менее длины блока, после установки всех блоков очередного ряда заделывают вертикальные стыки между ними. При выполнении стен подвала из монолитного железобетона высота бетонирования определяется высотой стены, а длина — технологическим регламентом производства работ.
По всей плоскости фундаментов, выровненной раствором и приведенной в горизонтальное положение, укладывают 1...2 слоя гидроизоляции.
При наличии подвальных этажей устраивают вертикальную гидроизоляцию и проводят мероприятия по утеплению их стен в соответствии с данными проекта.
Монтаж перекрытия над подвалом начинают после установки перегородок, устройства вводов и выпусков подземных коммуникаций.
Особенности монтажа подземной части здания. Для монтажа подземной части здания могут быть использованы пневмоколесные, автомобильные, гусеничные краны, краны-нулевики и башенные краны, запроектированные для возведения надземной части здания.
Основные особенности работ:
• увязка с земляными работами — монтажный кран или спускают в котлован и для него устраивают въездной пандус или для крана оставляют достаточно широкую полосу для перемещения по кромке котлована;
• тщательность обратной засыпки грунта и послойного уплотнения, так как необходимо гарантировать устойчивость подкрановых путей, которые часто располагают и в зоне обратной засыпки грунта.
Если при монтаже надземной части здания предусмотрено использовать башенный кран, им можно монтировать и подземную часть. В этом случае монтаж подкрановых путей и самого крана необходимо закончить до начала укладки фундаментов. Если глубина котлована значительна и при движении крана вдоль котлована может быть нарушена устойчивость откосов, то монтаж целесообразно вести с одной точки и на величину вылета стрелы. При этом устанавливают фундаментные подушки, блоки стен подвала, плиты перекрытия, устраивают гидроизоляцию, осуществляют обратную засыпку пазух, т. е. формируют подпорную стенку, исключающую опасность обрушения откоса.